This function allows setting the "background" of the dashboard on tank.
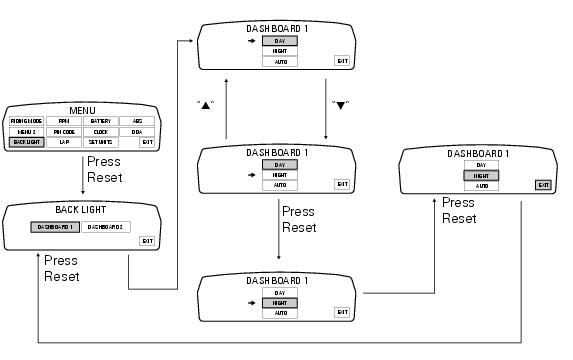
To access the function it is necessary to view the ""setting" menu", using buttons (1) "s" or (2) "t" select the "back light" function and press the reset button (3) to enter the following page.
Use button (1) "s" or (2) "t" to select the "dashboard 1" function and confirm by pressing the reset button (3).
Once you enter the "dashboard 1" function, setting is highlighted on the display (day, night or auto in green); use button (1) "s" or (2) "t" to shift the arrow to the left onto the new setting and confirm by pressing the reset button (3).
To exit the setting function, press the reset button (3) when "exit" is highlighted.
"Day" setting: dashboard background becomes permanently "white" to improve readout view - recommended with bright exterior lighting.
"Night" setting: dashboard background becomes permanently "black" for a more dimmed visibility - recommended with poor exterior lighting and/or dark.
"Auto" setting: dashboard background is set automatically according to exterior lighting conditions (detected by a sensor) and will be "black" for a more dimmed visibility with poor exterior lighting and "white" for an improved readout view with bright exterior lighting.
Note
In the event of an interruption of the power supply from the battery, when power is restored at the next key-on, the backlighting will always be set by default to "auto" mode.

Menu 2 on/off function
Backlighting setting function for the dashboard on handlebar - dashboard 2Checking brake and clutch fluid level
The levels should not fall below the min marks on the
respective reservoirs.
If the level is too low, air can get into the circuit, thus
impairing the efficiency of the system.
Brake and clutch fluid must be topped up and changed at the
intervals specified in the scheduled maintenance table ...
Refitting the front brake system
While refitting the system, pay special attention to the orientation of the
pipe couplings (24) on the pump and the pipes
(13) and (20) on the callipers (9) and (18).
Warning
If incorrectly positioned, the hose can affect brake operation and
foul moving parts. Position the hose as shown in th ...
Changing and cleaning the air filters
The air filter must be replaced at the intervals described in the "scheduled
maintenance chart" (sect. 4 - 2).
Work on the vehicle right side, loosen screws (1) that secure the intake duct
(2) to the filter box, and the radiator
retaining screw (3); recover the washer (4).
Remove the in ...