This procedure makes it possible to "temporarily" turn on the motorcycle if the hf (hands free) system is not working.
Note
The pin code function must be activated by entering your 4 digit pin in the dashboard, otherwise the vehicle cannot be turned on temporarily in the case of a malfunction.
Warning
The motorcycle owner must activate (store) the pin code; if there is already a stored pin, contact an authorised ducati dealer to have the function "reset". To perform this procedure, the authorised ducati dealer may ask you to demonstrate that you are the owner of the motorcycle.
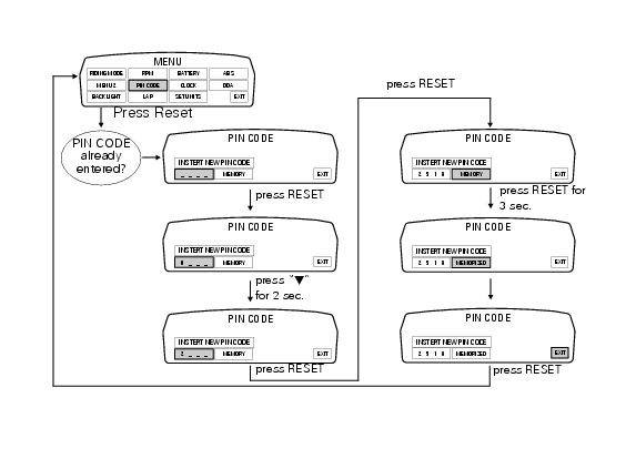
Pin code activation function to access the function it is necessary to view the "setting"menu, using buttons (1) "s" or (2) "t" to select the "pin code" function and press the reset button (3) to enter the following page.
Note
If "modify pin code" appears when accessing this function, this means that there is already a stored pin and therefore the function is already active.
When accessing the function, "insert new pin code" with four dashes "- - - -" in the bottom line will appear on the display highlighted in green; now enter a 4 digit code.
Entering the code: press the reset button (3).
Pressing button (2) "t" repeatedly cycles the highlighted number from "0" to "9" and then back to "0"; to confirm the number, press the reset button (3).
Repeat the procedure until inserting the fourth digit.
To highlight the "memory" indication, press the reset button (3) again.
To store the entered pin, press the reset button (3) for 3 seconds with "memory" indication highlighted in green.
As a confirmation of pin storage, the display will show the message "memorized" for about 2 seconds and then automatically highlight "exit" option.
From this moment, "modify pin code" will be displayed when accessing the "pin code" function and the pin can be Changed again as many times as necessary (without limits).
To exit the setting function, press the reset button (3) when "exit" is highlighted.

Abs disabling function
Pin code change functionIgnition coils
Introduction
The engine control system of the diavel includes two ignition coils: one for
the horizontal cylinder and one for the vertical
cylinder. These coils are installed directly in the spark plug wells. A diode is
installed on the secondary winding inside the
coil, which prevents the un ...
Gear indicator display on dashboard shows dashes, engaged gear not displayed
correctly, idle speed irregular
with gearbox in neutral
Fault codes
Dds: gear sensor diagnosis -> short circuit to ground or open circuit (s.C.
Gnd or c.O.) - Short circuit to vdc (s.C. Vdc)
- congruence (generic error - signal not correct).
Dashboard: the error "gear sensor" is shown on the service display. The eobd
warning light activates.
...
Symbols - abbreviations - references
To allow quick and easy consultation, this manual uses graphic symbols to
highlight situations in which maximum care is
required, as well as practical advice or information. Pay attention to the
meaning of the symbols since they serve to avoid
repeating technical concepts or safety warnings th ...