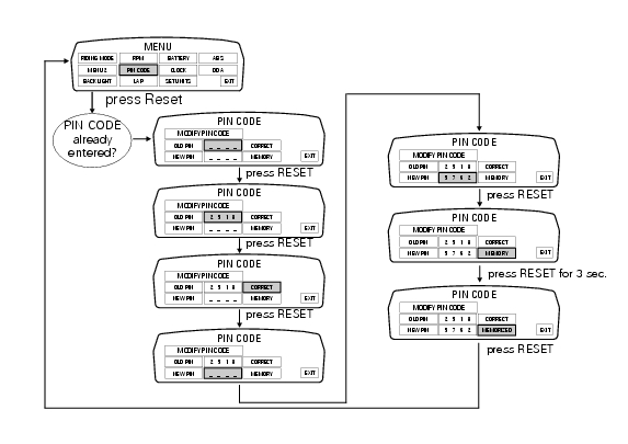
This function changes your four number pin code.
To access the function it is necessary to view the "setting"menu, using buttons (1) "s" or (2) "t" to select the "pin code" function and press the reset button (3) to enter the following page.
Note
If "insert new pin code" and the dashes "- - - -" appear when accessing this function, this means that the function was not active as the pin code was never entered. Enter your pin as described in the previous paragraph "pin code activation function".
When accessing the function, "modify pin code", "old pin" with four dashes "- - - -" in the bottom line will appear on the display highlighted in green; now enter the 4 digit code.
Note
To change the pin, you must know the currently stored pin.
Now you shall enter the "old" pin code (old pin).
Press the reset button (3); pressing button (2) "t" repeatedly cycles the highlighted number from "0" to "9" and then back to "0"; to confirm the number, press the reset button (3); repeat the procedure until inserting the fourth digit; press the reset button (3) again to confirm.
If the entered code is incorrect, the dashboard will return to the four dashes " - - - - " in order to enter the code again.
If the entered code is correct, "correct" is automatically highlighted in green for about 2 seconds and then the four dashes
" - - - - " Next to "new pin" indication are automatically highlighted; now enter the "new" 4 digit code.
Press the reset button (3); pressing button (2) "t" repeatedly cycles the highlighted number from "0" to "9" and then back to "0"; to confirm the number, press the reset button (3); repeat the procedure until inserting the fourth digit; press the reset button (3) again to confirm.
Item "memory" is automatically highlighted.
To store the entered new pin, press the reset button (3) for 3 seconds with "memory" indication highlighted in green.
As a confirmation of the new pin storage, the display will show message "memorized" for about 2 seconds and then "exit" is automatically highlighted.
To exit the setting function, press the reset button (3) when "exit" is highlighted.
Note
There is no limit to the amount of times you can change your pin code.

Immobilizer override procedureWiring diagram of the hands free system
The diagram illustrates the inputs, outputs and communication lines used by
the hands free system.
1I - on/off button placed on the hands free system (located below the plastic
cover)
2I - on/off button placed on the bike handlebar rh side
3I - steering position micro-switch
4I - steerin ...
Refitting the rear-view mirrors
Start the screws (2) in their thread on the rear-view mirrors (1), inserting
the washers (4) as shown in the picture.
Insert the rear-view mirrors (1) in the u-bolts (3).
Tighten the screws (2) to a torque of 25 nm +/-10% (sect. 3 - 3, Frame torque
settings).
Warning
The left rear-view ...
Tips on how to select the sensitivity level
Warning
The 8 level settings of the dtc were calibrated using tyres of the
same make, model and size as those originally fitted to
the motorcycle.
The use of tyres of different size to the original tyres may alter the operating
characteristics of the system.
In the case of minor differen ...