 
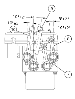
If the brake hoses (7), (8), (9) and (10) on the abs control unit are changed or removed, ensure that the fittings on the control unit are positioned correctly.
Warning
If incorrectly positioned, the hose can affect brake operation and foul moving parts. Position the hose as shown in the figure.

Pipes (7), (8), (9) and (10) fixing must be carried out by placing new gaskets (11) between the couplings.
Tighten the screws (17) to the torque of 23 nm +/- 10% (sect. 3 - 3, Frame torque settings).

Check that there are vibration dampers (22) and spacers (13) on the abs supporting bracket (12).
Refit the abs control unit (6) on the supporting bracket (12), and fix it by starting and tightening the retaining screws (16) to a torque of 10 nm +/- 10% (sect. 3 - 3, Frame torque settings).

Connect the connector (a) of the abs control unit (6).

If removed, refit the front rubber pad (15) applying the recommended threadlocker to the pin (c) and the rear face of the pad. Fit the pad inserting pin (c) into the corresponding hole (d).

If removed, refit the rear rubber pad (15) applying the recommended threadlocker to the cover of the exhaust valve motor until achieving engagement.
Note
The rubber pad (15) must be aligned with the corresponding reference notch (h) as shown.

To fill up the system, carry out the instructions for replacement of fluid of the front and rear braking system master cylinder or calliper to which the pipe is connected (sect. 4 - 3, Changing the brake fluid).
Important
If the abs control unit is replaced, this must be supplied with secondary circuit already full of fluid; the control unit must Be fitted and the system filled and bleeded as a traditional system.

 Removing of the abs control unit
Removing of the abs control unit Flexible wiring/hoses positioning
Flexible wiring/hoses positioningMenu 2 on/off function
   This function turns off and back on the menu 2.
If menu 2 is disabled, the functions for average fuel consumption (cons.Avg), 
instantaneous fuel consumption (cons.),
Average speed (speed avg), trip time (trip time) and air temperature (air) will 
no longer be displayed in the "main
screen".  ...
   
Symbols - abbreviations - references
   To allow quick and easy consultation, this manual uses graphic symbols to 
highlight situations in which maximum care is
required, as well as practical advice or information. Pay attention to the 
meaning of the symbols since they serve to avoid
repeating technical concepts or safety warnings th ...
   
Dashboard system
   The vehicle is equipped with two dashboards: an lcd (1) located on the 
handlebar containing the key indications (speed,
rpm, engine coolant temperature, and clock) and a tft colour display (2) located 
in the tank fairing displaying trip
information (riding style set, odometer, consumption, ave ...