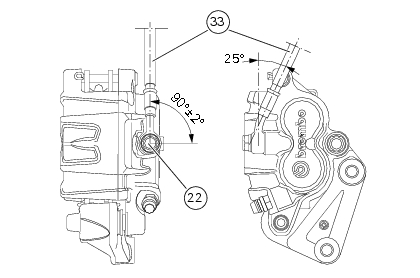
When replacing the brake pipes (33) or removing one of the rear braking system components, pay special attention to the position of the couplings on the pump and the calliper.
Warning
If incorrectly positioned, the hose can affect brake operation and foul moving parts. Position the hose as shown in the figure.

Remember to fit the copper faced sealing washers (23) to the hose end fitting when reconnecting the brake pipe to the brake calliper (15).
After orientating the fitting, lock the special screw (22) to a torque of 23 nm +/- 10% (sect. 3 - 3, Frame torque settings).
If the speed sensor (1) was removed, fit it on the calliper holder bracket (a) with the spacer (8) and the washer (32) and tighten the screw (2) to a torque of 10 nm +/- 10% (sect. 3 - 3, Frame torque settings).
Note
The gap between the sensor (1) and the brake disc fixing screw must be within 0.6 To 2.2 Mm.
If it is necessary to remove the calliper holder bracket (a) in order to refit it, see sec. 7 - 13, Refitting the rear wheel eccentric hub and rear wheel shaft.
Insert the rear brake calliper (15) on the brake disk, aligning it with the holes of the calliper mounting bracket (a).
Grease the screws (12) and tighten to the torque of 25 nm +/- 5% (sect. 3 - 3, Frame torque settings).

In order to fit the pipe (33), the speed sensor (1) and the retaining clamps follow instructions in sect. 7-6, Flexible wiring/hoses positioning.

Removal of the rear brake discOverhauling the rear wheel
Inspect the condition of the rear wheel.
As the wheel rim has no bearings, it should be supported using the service tool
code 88713.2951.
Note
This service tool can also be used to install the wheel on a balancing
machine.
Overhauling the wheel
Inspect the wheel as described below.
...
Key-on/key-off using the key on the hands free lock with the active key
Key-on can be performed by pressing the button (7) on the
hands free lock (1, fig. 77) And with the presence of the
active key (3, fig. 77).
Note
The active key (3, fig. 77) Has a range of approx. 1.5 M,
therefore it must be located within this range.
Key-off can be performed by pressing the ...
Gear indicator display on dashboard shows dashes, engaged gear not displayed
correctly, idle speed irregular
with gearbox in neutral
Fault codes
Dds: gear sensor diagnosis -> short circuit to ground or open circuit (s.C.
Gnd or c.O.) - Short circuit to vdc (s.C. Vdc)
- congruence (generic error - signal not correct).
Dashboard: the error "gear sensor" is shown on the service display. The eobd
warning light activates.
...