Important
The steering tube bearings (6) are identical but in no case may their components be swapped around during reassembly.
Clean all contact surfaces and lubricate with the recommended grease.
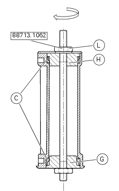
To fit the external rings (c) of the bearings (6) to the steering tube, use the tool with part no. 88713.1062 And proceed as follows:


Insert the washer (13), seal (8) (with the rim facing upwards) and inner ring (l) of bottom bearing (6) onto the steering shaft after heating it for about 10 minutes to 120C.
Insert drift part no. 88713.1072 Onto steering shaft. Push the inner ring (l) on the sealing ring (8), manually pushing for at least 10-15 seconds.
Lubricate the inner bearing race (l) with the recommended grease.
Fit the ball race (m) on the steering shaft with the smaller diameter of the cage facing upwards and grease the ball race.

Insert the steering shaft in steering head and push it in until it is axially seated.
Fit the bottom yoke assembly to frame.
Grease the ball race (b) and fit it to frame top outer race (c).
Fit the inner ring (a) of the upper bearing (6) to the steering head, with the larger diameter side of the race facing upwards.
Install the sealing ring (8) with the flat side facing upwards.

Grease the nut (12).
Tighten the steering shaft nut (12) by hand until it seats against the sealing ring (8).
Fit service bush no. 88713.1058 To the steering shaft nut (12) and fit the torque wrench to the bush.
Tighten the adjuster ring nut (12) to a torque of 30 nm +/-5% (sect. 3 - 3, Frame torque settings).

Fit the steering head (2) on the steering head nut (12), aligning the fork leg bores with the corresponding bores on the bottom yoke. Relocate the fork legs as described in section 7 - 10.1, Refitting the front forks.
Grease the screw (3).
Tighten the screw (3) on the steering head to a torque of 24 nm +/-5% (sect. 3 - 3, Frame torque settings).

Refit the cable grommet (p) on the steering head and tightening the screws (v) to a torque of 8 nm +/-10% (sect. 3 - 3, Frame torque settings).

Mount the front support (24) on the right support (23) and the front splashguard (22) on the left support (21), inserting the splashguard pins (p) into the holes in the supports.
Note
For the supports (21), (23) and (24) to be installed correctly, the pins (p) must be fully out at the side opposite to insertion site.

Position the front speed cable (g) and the brake hose (h) in the suitable seats provided by the front support (j) of the splashguard (22) as shown.
Note
To position the brake hose (h) correctly, insert collar (k) of rubber (l) into the guides (m) on the front support (j).

Place the front support (24) of the splashguard (22) on the bottom yoke (15) by tightening the screws (19) to a torque of 4 nm +/- 10% (sect. 3 - 3, Frame torque settings).

Fix supports (21) and (23) of the splashguard (22) to the air conveyors (t) by tightening the screws (19) to a torque of 4 nm +/- 10% (sect. 3 - 3, Frame torque settings).
Operations



Removal of the steering head components
Rear shock absorber assemblyCoolant temperature
This function indicates coolant indication state.
The temperature unit of measure can be selected (C or f).
The reading is indicated as follows:
If the reading is between - 39C and +39C "lo" is
shown flashing on the instrument panel (steady);
If the reading is between +40C an ...
Lubricating cables and joints
Check the outer sheath of the throttle control and cold start
lever cables for damage at regular intervals. The outer plastic
cover should not be flattened or cracked. Operate the
controls to make sure the inner cables slide smoothly inside
the outer sheath: if you feel any friction or catching, ...
Symbols - abbreviations - references
To allow quick and easy consultation, this manual uses graphic symbols to
highlight situations in which maximum care is
required, as well as practical advice or information. Pay attention to the
meaning of the symbols since they serve to avoid
repeating technical concepts or safety warnings th ...