This function customises each riding style.
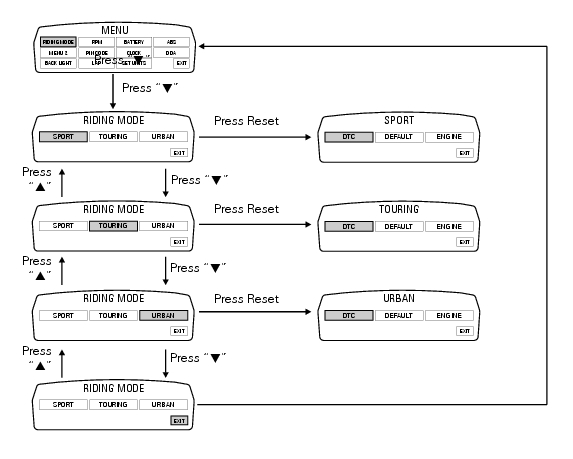
To access the function it is necessary to view the ""setting" menu", using buttons (1) "s" or (2) "t" select the "riding mode" function and press the reset button (3) to enter the following page.
When accessing the function, the three riding modes appear on the display; to customise the parameters, use buttons (1) "s" or (2) "t" to select the riding mode to be modified and press reset (3) to confirm.
The parameters that can be "customised" are "dtc" (ducati traction control) and '"engine".
Any parameter change made is saved in the memory also after a battery-off.
To modify the dtc parameters see the paragraph "dtc (ducati traction control) setting function".
To modify the engine parameters see the paragraph "engine setting function (engine power control)".
The parameters set by ducati for each individual riding style can be restored with the "default" function.
To reset the "default" parameters see paragraph "default function (resetting ducati default parameters)".
If the parameters have not been modified (customised) or are reset using the "default" function, when you quit the setting menu, in the "main" screen, the "background" indicating the riding style (sport, touring or urban) becomes blue (1).
Changes should only be made to the parameters by people who are experts in motorcycle setup; if the parameters are changed accidentally, use the "default function (resetting ducati default parameters)" to reset the parameters.


Setting menu
Dtc (ducati traction control) setting functionRemoving the front footrest brackets
Note
The assembly of the front footrests is described only for the right one
(2) but it is the same also for the left one.
Place the spring (4) bringing the end (a) onto the footrest (2).
Place the footrest (2) in the correct position, by inserting the end (c) of the
spring (4) in the hole ...
Refitting the clutch master cylinder assembly
Insert the clutch master cylinder assembly (3) and the clamp (6) on the left
handlebar, so that the top mating faces
match the mark (z) on the handlebar as shown.
Couple terminal (6) to the clutch master cylinder control and fix them with
the screws (v).
Tighten the retaining screws ...
Abs disabling function
This function disables or enables the abs.
To access the function it is necessary to view the "setting" menu page 48, using
button (1, fig. 14) ?"
" or (2, fig. 14) ?"" select the "abs" function and
press the reset button
(12, fig. 12) To go to next ...