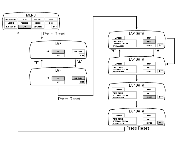
This function displays the stored laps.
To access the function it is necessary to view the ""setting" menu", using buttons (1) "s" or (2) "t" select the "lap" function and press the reset button (3) to enter the following page.
Use button (1) "s" or (2) "t" to select "lap data" indication and press the reset button again (3) to enter the page showing the previously recorded lap times.
The dashboard displays the information as follows: at top left, the number of the displayed lap (ex.: Lap n.01); At bottom left, a rectangle inside which is the lap time (time), top speed in that lap (speed max) and top rpm in the same lap (rpm max); on the right, use button (1) "s" or (2) "t" to select "next" (so that every time the reset button is pressed (3) the next lap is displayed) or "prev" (so that every time the reset button is pressed (3) the previous lap is displayed); to exit, select "exit" and press the reset button (3).
Note
The max stored speed is indicated on the display (increased by 5%).
If no lap times are saved in memory, "no lap" indication is displayed and lap timer will indicate "-.- -.- -", Max rpm will be = - - - - - - and max speed = - - - - -.
Note
If the stored times are deleted while the lap function is active, it will be automatically deactivated.

Lap registration function
Stored lap erase functionDescription of the diagnosis instrument (dds)
The "dds" diagnostic system lets you diagnose any faults in the
injection-ignition system via a serial port. The system is
also equipped with functions to test various devices on the motorcycle. The dds
diagnosis instrument can be used to
measure current and voltage on any electrical device, t ...
Refitting the camshafts
If the stud bolts (2) were removed, apply the recommended threadlocker to the
short end of the stud bolts (2), i.E. The
end that is to be screwed into the cylinder head. Tighten the stud bolts (2) to
a torque of 10 nm (min. 9 Nm - max. 11
Nm) (sect. 3 - 3, Engine torque settings).
Check t ...
Testing the battery charging system
Note
The on-screen icons used during this procedure are explained in a table at
the end of this section.
You can determine the engine rpm required for generator to produce just
enough current to charge battery, feed the
injection ignition system and all electric items fitted to motorcycle. Wh ...