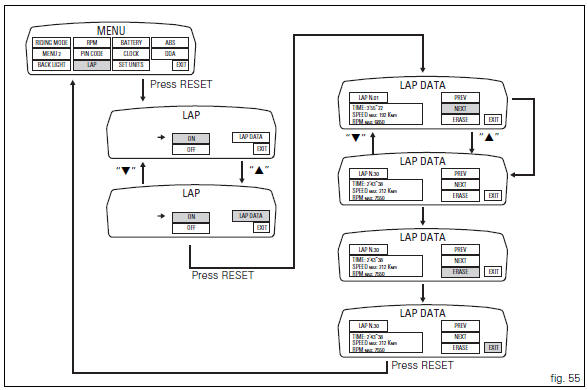
This function displays the stored laps.
To access the function it is necessary to view the "setting" menu page 48, using
button (1, fig. 14) ?"
" or (2, fig.
14) ?"
" select the "lap" function and
press the reset button
(12, fig. 12) To go to next page.
Use button (1, fig. 14) ?"
" or (2,
fig. 14) ?"
" to select "lap
data" indication and press the reset button again (12, fig.
12) To enter the page showing the previously recorded lap times.
The instrument panel displays the information as follows:
"
"
12) The previous lap is displayed).
To exit, select "exit" and press the reset button (12, fig. 12).
Note
The max stored speed is indicated on the display (increased by 5%).
If no lap times are saved in memory, "no lap" indication is displayed and lap timer will indicate "-.- -.- -", Max rpm will be = - - - - - - and max speed = - - - - -.
Note
If the stored times are deleted while the lap function is active, it will be automatically deactivated.

Lap registration function
Stored lap erase functionRear wheel
Right-hand wheel nut
Washer
Spacer
Valve
Wheel
Circlip
Spare parts catalogue
Diavel abs front and rear wheels
Diavel carbon
abs
front and rear wheels
Important
Bold reference numbers in this section identify parts not shown in the
figures alongside the text, but which can ...
Dashes shown instead of speed indication or indicated speed is incorrect
Fault codes
Dds: speed sensor diagnosis -> max. Speed (max. Speed error - signal not
correct) - minimum speed (min speed error -
signal not correct) - congruence (correlation speed error - signal not correct).
Dashboard: the error "speed sensor" is shown on the service display. The eobd
...
Removal of the movable tensioner/timing belt
Loosen the nut (8) and remove the washer (7) and the tensioner pulley (9)
from the pin (12) on the cylinder head.
Remove the timing belt (14) from the horizontal cylinder assembly.
Important
If the belts are to be re-used, mark the direction of rotation with an
arrow and also mark the cylin ...