This function erases the stored laps.
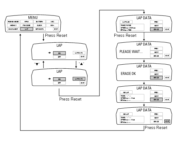
To access the function it is necessary to view the "setting" menu", using buttons (1) "s" or (2) "t" select the "lap" function and press the reset button (3) to enter the following page.
Use button (1) "s" or (2) "t" to select "lap data" indication and press the reset button again (3) to enter the page showing the previously recorded lap times.
Highlight the "erase" item, use button (1) "s" or (2) "t" to scroll through the stored laps to erase and press the reset button (3) for 3 seconds. Now, on the left-hand side of the display you have "please wait…" and then, to confirm deletion, "erase ok" appears for 2 seconds.
You will notice that no stored data will be present any more and "no lap" message will be displayed.
To exit, select "exit" and press the reset button (3).

Stored lap display function
Battery voltage indicator (battery)Throttle valve operation engine
Introduction
The electric motor actuating the throttle valve for the vertical cylinder is
mounted on the throttle body of the diavel, while
a link rod connects the vertical cylinder throttle valve to the horizontal
cylinder throttle valve. In the electric motor, the
throttle valve position se ...
Checking the frame
Check the dimensions of the frame against the dimensions shown here to
determine whether it needs to be realigned or
renewed.
Important
Damaged frames must be changed, not repaired. Any work carried out on the
frame can give rise to potential danger,
infringing the requirements of ec directi ...
Exhaust by-pass valve not working correctly
Fault codes
Dds: exvl diagnosis -> position error, potentiometer, short circuit to ground
or open circuit (s.C. Gnd or c.O.),
Potentiometer short circuited to vdc (potentiometer s.C vdc).
Dashboard: the error "exvl" (exhaust bypass valve) is shown on the service
display. The eobd warning ...