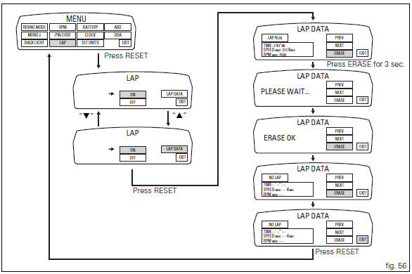
This function erases the stored laps.
To access the function it is necessary to view the "setting" menu page 48, using
button (1, fig. 14) ?"
" or (2, fig.
14) ?"
" select the "lap" function and
press the reset button
(12, fig. 12) To go to next page.
Use button (1, fig. 14) ?"
" or (2,
fig. 14) ?"
" to select "lap
data" indication and press the reset button again (12, fig.
12) To enter the page showing the previously recorded lap times.
Highlight the "erase" item, use button (1, fig. 14) ?"
"
or (2, fig. 14) ?"
" to scroll through
the stored laps to erase and
press the reset button (12, fig. 12) For 3 seconds. Now, on
the left-hand side of the display you have "please wait..."
and then, to confirm deletion, "erase ok" appears for 2
seconds.
You will notice that no stored data will be present any more and "no lap" message will be displayed.
To exit, select "exit" and press the reset button (12, fig. 12).

Stored lap display function
Battery voltage indicator (battery)Anti-pollution system and auto-adaptive strategy
Efficacy of the catalytic converter and oxygen sensors
To comply with current emissions legislation, the diavel is equipped with a
trivalent catalytic converter, which oxidises co
(carbon monoxide) and hc (unburnt hydrocarbons) and reduces nox (nitrogen
oxides).
The image shows the exhaus ...
Units of measurement modification function
This function allows you to change the units of measurement
of the displayed values.
To access the function it is necessary to view the "setting" menu page 48, using
button (1, fig. 14) ?"" or (2, fig.
14) ?" " select the "set units" function
and pre ...
Overhaul of the flywheel-alternator assembly
Examine the inner part of alternator rotor (24) for signs of damage. Check
that the starter clutch is working properly and
that the needle races do not show signs of wear or damage of any kind. If there
is any malfunction, remove the whole
assembly.
Disassembling the generator flywheel
U ...